Время работы:

ПН-ПТ 10:00 - 19:00
СБ-ВС выходной

Ваш город: Пермь

+8 (800) 302-10-51

info@optinstrument.su

Заказать звонок
Каталог товаров

Электроводонагреватель проточный ЭПВН - 18

Артикул: НС-0030849
Проточный электроводонагреватель ЭПВН класса «СТАНДАРТ-ЭКОНОМ» предназначен для приготовления горячей воды в частных домах, коттеджах, социальных и коммерческих объектах.
Доставка по России любой ТК (транспортной компанией)
Все товары сертифицированы
Основные характеристики
Производитель
Страна производитель
Россия
Напряжение, В
380
Давление срабатывания датчика максимального давления
7,5 МПа
Испытательное давление
12 атм
КПД
93%
Максимальная температура в точке водозабора
75 ±5°С
Минимальное допустимое давление на входе
0,5 атм
Производительность (при Δt = 35°С)
450 л/ч
Рабочее давление воды
6 атм
Разница температур между входом и выходом
35°С
Сечение жилы питающего кабеля
6 мм²
Температура срабатывания аварийного датчика
85 ±2°С
Габариты, мм
350х330х660
Вес, кг
20
Гарантия
1 год

Особенности

  • Возможность создания полностью автономной или резервной системы горячего водоснабжения
  • Мгновенный нагрев воды
  • Экономичность. Расход электроэнергии происходит при нагреве используемой воды
  • Простота монтажа, управления и технического обслуживания
  • Экологически чистое двухстороннее покрытие емкости нагрева
  • Три уровня безопасности
  • Гарантия надежной работы при изменении напряжения питающей сети ±10% от номинального значения
  • ТЭНы из нержавеющей стали обеспечивают долговечность приборов
  • Электроводонагреватели проточные серии "ЭПВН" предназначены для горячего водоснабжения жилых, бытовых, производственных, сельскохозяйственных помещений в качестве основного или резервного источника горячей воды

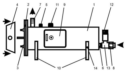
Устройство водонагревателя

  1. корпус
  2. крышка
  3. ТЭН (один - ЭПВН 7 или три - ЭПВН 9,45-30)
  4. защитный кожух ТЭН
  5. датчик терморегулятора
  6. входной патрубок
  7. выходной патрубок
  8. обратный клапан
  9. пульт управления
  10. опоры водонагревателя
  11. аварийный термовыключатель
  12. предохранительный клапан
  13. тройник
  14. зажим заземления

Электроводонагреватель проточный ЭПВН - 18 в продаже по цене 0 руб. в Интернет-магазине Проф-инструмент с доставкой . Звоните по телефону +8 (800) 302-10-51.

Похожие товары
Артикул: НС-1036904
Проточные водонагреватели Flow active оборудованы электронной системой управления, автоматически поддерживающей постоянный нагрев воды и контролирующей температуру на входе и выходе из прибора во избежание ее повышения/понижения при скачках давления воды. Водонагреватель имеет мощный спиральный нагревательный элемент из нержавеющей стали. Все модели защищены от образования накипи и перегрева, компактны и имеют высший класс пылевлагозащищенности (IP X4).
Не указана цена за 1
Артикул: НС-0030829
Проточный электроводонагреватель ЭПВН класса Профессионал предназначен для скоростного нагрева больших объемов воды. Промышленное решение для производственных и спортивных объектов.
Не указана цена за 1
Артикул: НС-1017851
Водонагреватель Smartfix 2.0 (6,5 кВт) сочетает в себе высокую производительность, способность экономить электроэнергию, безопасность, удобство в использовании, компактность и привлекательный дизайн.
Не указана цена за 1
Артикул: НС-0030851
Мощность30 кВт КПД93 % Hапряжение питания380 B Рабочее давление воды6 атм Испытательное давление12 атм Минимальное допустимое давление на входе0,5 атм Давление срабатывания датчика макимального давления7,5 МПа Максимальная температура в точке водозабора75 ±5 °С Разница температур между входом и выходом35 °С Температура срабатывания аварийного датчика85 ±2 °С Производительность (при Δ-t = 35°-С)750 л/ч Сечение жилы питающего кабеля10 мм2 Вес20 кг Гарантия12 месяцев
Не указана цена за 1